网课小记(一)——王辉老师
“你的小区我进不去,我在封闭的西门口外等你。”
系主任凌兴宏老师客串了一次快递小哥,给我送来了上网课用的麦克风和三脚架。
透过小区西门铁栅栏的空隙,他把器材一件一件塞给了我。身后歪栽在路边的大众朗逸双闪着黄灯。
在这个需要大家齐心合力阻击病毒的特别时期,我要开网课了。
客厅的电视机被我用做辅助显示器和面光光源。茶几推到电视机前面就是播音桌,再摆上授课用的笔记本,接上usb麦克风。三角架立在茶几的侧面,固定好手机做慕课堂的控制终端。
我稍微调整了电视机和茶几的走向,让侧面落地窗的室外光线更均匀一些,打开身后的客厅吊灯给头发补一点光。
用摄像头检查采录效果,面部光线还好,只是两个多月疯长的头发凌乱如草。我换上一副头戴式耳机,压出一个还算能接受的发型。

图1. 授课场景
我预计开课的时候百舸争流,中国大学mooc平台的带宽,有被耗尽的可能。 所以选择企业微信中的会议功能,作为后备方案。
在开课前一周,我建立了两个操作系统教学班的企业微信聊天群。同时召集两个班的学习委员加入我的教学管理群。在视频会议里跟两位同学一起测试了直播环境,嘱咐他们制作一份网络课程操作使用说明书发给大家。随后的教学指令就通过两位学委分发传递。
“我提议上课的时候选择音频会议,因为有些同学网络条件比较差,可能视频收视效果不好。”
“早上连视频,我担心你们看到我没有洗脸。”
管理群的同学们,热情地给我提建议。
第一天直播上课的时候,我开启语音会议,但是为了增强同学们的亲切感。在分享的屏幕中,我插入了一个摄像头的监控画面。这样课件展示和视频讲授画面同时传输。学生可以看到老师授课的样子。
我指派两名同学值日,负责用语音反馈课程直播质量,如果有网络卡顿可以及时处理。
在线视频教学,最大的优势是让学习者摆脱时间和空间的限制,可以远程、自主择时反复学习。怎样利用这个优势,同时又能准确地管控学生的听课质量和学习过程,对我来说是一个很大的挑战。
我采用三条线索重新组织了教学计划。
1.视频课的观看,定目标和内容,不限制时段,不限制次数。不限制播放速度。
2.通过精心设计的测试和作业来检查视频课的观看质量,快速发现知识盲点。
3.利用上机课时段增加直播课程,对知识点进行快速梳理,并针对难点进行深入讲解。结合视频课堂的理论教学,强化学生的动手能力。

图2. 学生作业提交
在线上课因为看不到学生的面容,只能看到他们的名字,就好像偌大的舞台下面,没有一个观众。
自己的讲述声也没有回音,情感上显得有些单薄。相比之下,我还是更喜欢热闹的教室氛围。
第二天晚上批改作业的时候,有一件事情让我很感动。
19物联网(z)班的倪心怡同学把我的在线教学过程全部录屏剪辑还配上了字幕。

图3. 学生制作的影像效果
校正了字幕文件后,
“辛苦你了, 内部群发。”我配上一个微笑的表情。
如果我的课程,有人爱听并且愿意让它变得更好。这是对我最大的鼓励了。
网课小记(二)——周家骎老师
“——老师您好,请问可以麻烦您看一个编程的问题吗?”
“——老师老师,我又来啦。”
以上两句线上答疑开场白来源自19物联网中外合作班级的同一位同学,时间分别为网课开课初期及几天后。上述的情况并非个例,同学的态度转变是线上教学期间的诸多有趣变化的其中之一。
网课或是线上教学本身并非是疫情特殊时期的产物,但在传统教学环境下更多的作为辅助手段,于我个人更多的是将一些优秀的线上教学视频或刷题网站资源推荐给部分有需要的同学。而如今网课摇身一变,从配角成为主角,也带来了诸多意想不到的变化,这次小记就记录一下答疑这一环节的转变。
传统的课堂教学答疑环节都是面对面的,这使得来到线上之后师生间的距离感似乎被无限拉大了。但实际情 况却是线上答疑无论从数量还是质量都大大提升了。以往的答疑主要发生在课间或课后,几名优等生或是性格外向的同学才敢于走上讲台,性格内敛的同学往往不敢直接向老师进行提问。但在线上教学期间,不用面对面进行的线上答疑让更多的同学参与了进来。如同开头所提的例子,这类同学往往会在第一次提问时小心翼翼,但当他们与我进行过几次答疑之后,便如同解开了束缚。对于计算机类课程的编程作业,几乎大多数同学都会遇到错误,无法解决错误是多数同学落后乃至放弃的重要原因。有效的通过答疑解决问题并增长经验是提升学生动手编程能力的巨大助力。
“——我把修改过的代码发给你了,你看一下”
“——你这段代码主要是没有解决几个临界值的输入,自己试试改正它”
在发生改变的不仅是学生,也包括我自己。直接给学生答案并不是最好的答疑方法,点出问题并引导学生自己进行修正才能帮助他们真正进步。
“——老师我这段代码错在哪里啊?”
“——老师我这道题有一个用例无法通过,是我的边界输入有问题吗?”
“——老师我这道题解决了但是用的笨办法,可以怎样优化呢?”
从学生提问的变化中就能够明显的察觉到其能力的提升。答疑的质量越来越高。学生不再会为了基础性的问题来提问,并且在提问时对于问题的描述也更加精准到位。作为老师,回答学生的问题不仅仅是解决某一个学生学习过程中的疑惑,根据大量学生的提问能够有效的了解到大部分学生的学习进度以及疑难知识点的分布并进行针对性的后续教学的调整。而及时有效的来自学生的反馈正是传统课堂教学所缺失的。
答疑环节的改变只是网课带来的众多变化中的一部分,但这一次教学从线下到线上的略带强制性的突然转变却能够为我们的未来教学带来更多的思考。
网课小记(三)——凌兴宏老师
2020年初的一种特别狡猾特别厉害的病毒打乱了我们日常的生活、学习和工作方式,以致广大师生不能按时正常入校学习。为了做到停课不停学,学院决定绝大部分课程采取线上教学方式。这种教学方式给每位老师带来了挑战,忐忑、担忧……是采用moo c还是自己直播?哪个平台的mooc适合学生?采用什么平台直播:qq还是微信?教学质量和效果如何?为了应对这种新的教学方式,我系老师首先通过qq以及微信进行了交流和探讨,同时也是两种直播教学平台的一次测试和比较。各位老师分享了自己的经验和以及注意问题,交流了各种平台及教学方式的优劣。mooc虽然名师所讲,但听了几讲似乎不太适合文正的学生,与后续不能很好衔接,与教材不符。为了保证后续线下教学的延续,通过微信与qq直播的比较,决定采用qq线上直播。
首先,根据其他老师建议,下载了最新版本qq,有一些面向qq直播教学的新增功能。上课之前首先测试直播效果,保证不要有回声,调整好电脑的麦克风与扬声器的音量大小,也要求同学做好测试,以便及时回答问题,同时要求同学在听课时先关闭麦克风,关闭视频,只接受老师投屏,等到提问时再打开麦克风。为了得到同学们的及时反馈,采用双屏,一个屏幕作为投屏给学生,另一个接受qq信息,学生回答问题或防止线上教学意外及时得到同学的提醒:如没有投屏、没有声音…
为了监督同学是否在听课,经常提问交流。qq直播上课之前一眼就能看见谁还没加入课堂,谁缺席了本次课堂。根据几次作业的完成质量,基本上区分出优劣,根据考勤情况、作业情况可以针对性的提问,保证那些平时表现不佳同学得到更多的提问,对情况严重同学予以警告。最新版qq提供了课堂作业功能,可以及时布置课堂作业,及时得到同学们的反馈,针对典型案例做课堂分析。提交作业报告也方便了许多。课堂交流与监督情况见图1-5。

图1 上课考勤

图2 作业部署

图3 学生作业提交与批阅

图4 课堂练习典型错题分析
通过这次qq直播,充分体会了线上教学的优劣,给我们后续线下教学提供了一种新的补充教学手段。通过投屏可以更加清晰,提问问题可以得到更多同学的及时回答,可以布置课堂练习及时提交,且能看到结果,针对典型错误进行分析。qq提供了作业布置与提交的一个平台。但教学效果与面对面的教学比起来还是有差距的,我们也期待着正常教学的回复,同时也会利用线上平台作为补充!
网课小记(四)——龚兰兰老师
首次使用慕课的教学方式,开始有些担忧,最主要的担心是学生学习的自觉性,以及对他们学习过程的管控、学习效果。没有老师面对面的讲解,他们是否能准确的理解和掌握相应的知识技能?没有老师的监督他们是否会自觉完成学习任务?没有手把手的辅导,他们能否解决实操过程中遇到的问题?……一串的问号和担心最终在实际教学过程中,我们还是一一解决了。
1.课程资源
采用由北京大学陈斌老师主持的中国大学mooc平台上的《python语言基础与应用》课程和郑州轻工业大学的《jsp程序设计》课程作为《python程序设计》和《j2ee应用开发》两门课程在线学习的教学资源。充分利用优质的网上课程作为课程的骨架,在具体内容上做修改和增补,相信可以很好地完成教学任务
2.教学流程
以一周为一个学习单元进行教学任务的布置和教学实施。
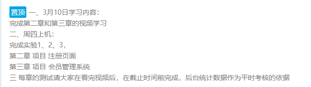
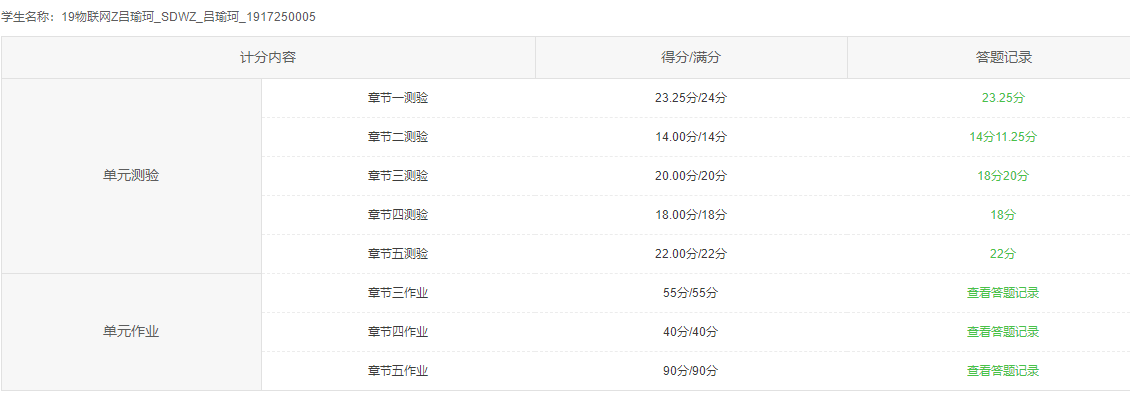
(1)每周一通过qq作业发布一周教学任务,包括:视频学习任务、上机任务、课后作业。在慕课教学平台后台,需要定期提起发布新的学习内容视频、作业和测验,设置作业和测试的内容、提交时间限制等。

(2)学生通过mooc平台学习spoc课程视频,并完成spoc平台上的测验。

(3)通过qq群发布课件和资源,并在线答疑交流,鼓励学生把问题在群里公开提出,一方面许多共性问题,解决后可供其他同学参考,提高效率;另一方面,鼓励学生互相解决问题,不完全依赖老师,帮助他人的同时提高自己的解决问题能力。


(4)通过qq视频会议进行必要的补充和说明
有些知识点学生理解和掌握有一定难度,教师需要通过语音会议的方式进行适当的解释和补充。
(5)通过qq远程控制学生计算机解决上机操作遇到的难题。
由于这两门课程都是实操性较强的课程,涉及到具体的操作过程和编程问题,很多学生无法用语言或文字表达清晰自己遇到的困难,因此这个时候老师只有通过远程控制学生的机器去一一排查问题和操作演示,帮助他们解决问题。因此这一项一对一的远程实操方式也是工作量最大的工作。
3.课后工作
每节课都给学生布置了在线平台的作业和测验,在线提交后即可平分。学生在做作业和测验的过程中会遇到各种问题,很多学生喜欢一对一的问问题,因此课后的工作量较大。

4.学生学习管理
在课程后台,需要关注学生的学习情况,整体的完成情况,以及每个学生的具体答题情况,根据叙述作业完成的情况在群里适当做出提示和辅导。对于学习时间不够,或者答题情况不太好的同学,逐一发消息提醒他们。


5.在线教学体会
第一次使用在线教学的方式,有一些担忧,但是也有不少的收获。一方面担心很多学生仅仅是刷视频,并没有真正的学习,学习效果会大打折扣。另一方面,发现在线教学也有它的好处,学生可以多次、重复学习,加深理解;同时,在线教学资源也有很多便利之处;在使用过程中我们也发现了不少积极、主动的学生,他们主动学习、主动练习、主动提问。这也促使我们不断努力、不断学习、更好滴完成教学任务。
在线授课使我们转换了角色,学生成为学习主体,而教师只是一个引导者,这个转变也是一个很大的挑战。在这个过程中,除了学习新的平台使用技术,随时给学生答疑解惑,更要根据mooc课程的教学体系和内容,将自己的想法和平台已有内容做有机整合。
(计算机工程系)


